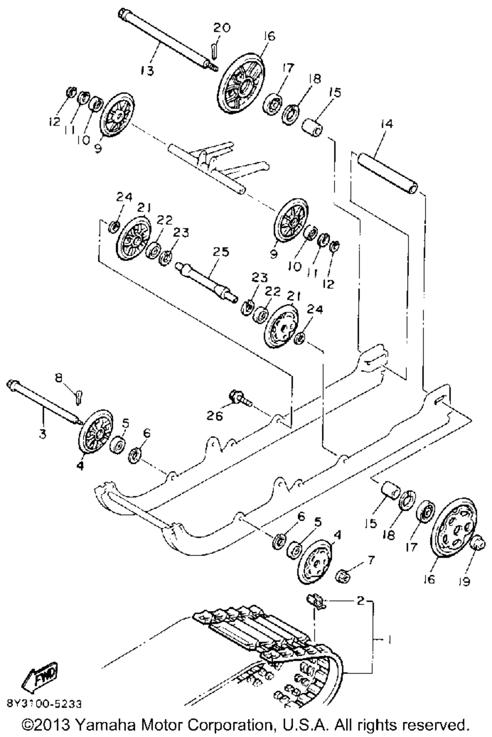
| № | Наименование | Примечание | Кол-во |
|---|---|---|---|
| 1 | TRACK ASY | 1 | |
| 2 | METALSLIDE | 66 | |
| 3 | SHAFT MOD KT PZ480 (80X-47487-00-00) | 1 | |
| 4 | SUSPENSION WHEEL | 2 | |
| 5 | BEARING | 2 | |
| 6 | CIRCLIP | 2 | |
| 7 | NUT SELF-LOCKING | 1 | |
| 8 | PINCOTTER (5 per pack) | 1 | |
| 9 | SUSPENSION WHEEL | 2 | |
| 12 | CIRCLIP (5 per pack) | 2 | |
| 13 | REAR AXLE | 1 | |
| 14 | COLLAR | 1 | |
| 15 | COLLAR | 2 | |
| 16 | GUIDE WHEEL | 2 | |
| 17 | BEARING (8AE) | 2 | |
| 18 | CIRCLIP | 2 | |
| 25 | SHAFT 6 | 1 | |
| 26 | BOLTFLANGE(8AB) | 2 |
