| № | Наименование | Примечание | Кол-во |
|---|---|---|---|
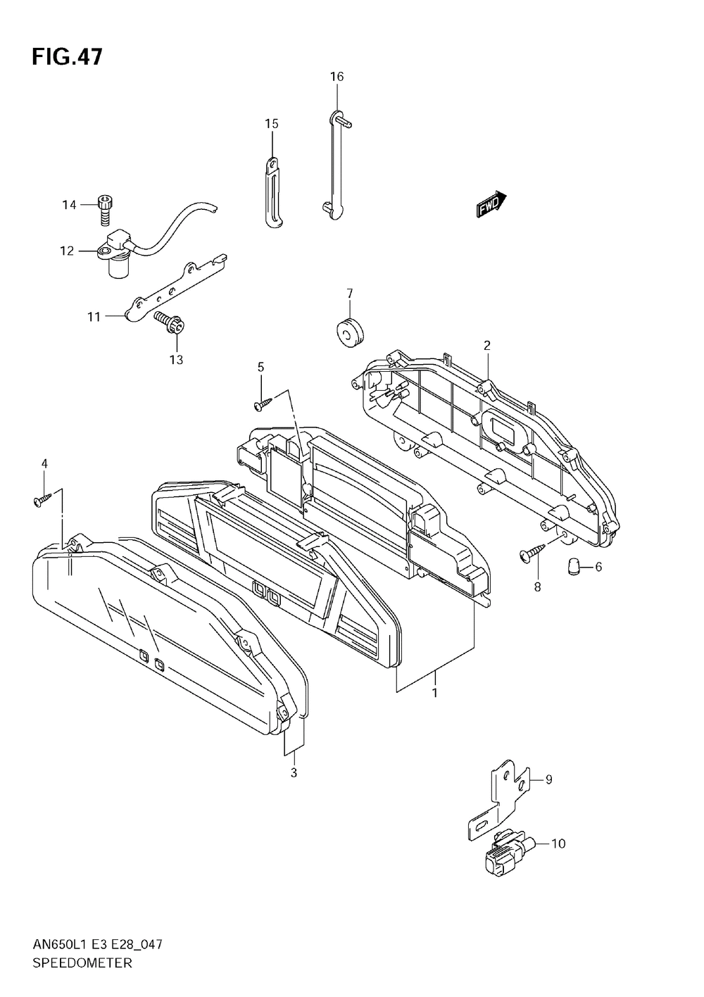
| 4 | SCREW | 10 | |
| 5 | SCREWPAN HEAD | 7 | |
| 6 | CUSHION SPEEDOMETER | 2 | |
| 7 | CUSHIONGPS | 2 | |
| 8 | SCREW | 2 | |
| 9 | Деталь | 1 | |
| 10 | Датчик температуры окружающей среды 95643-58j00 | 1 | |
| 11 | Деталь | 1 | |
| 12 | SENSORSPEED | 1 | |
| 13 | BOLT | 2 | |
| 14 | BOLT | 1 | |
| 15 | CLAMP | 1 | |
| 16 | CLAMP (L:63) | 1 |
