| № | Наименование | Примечание | Кол-во |
|---|---|---|---|
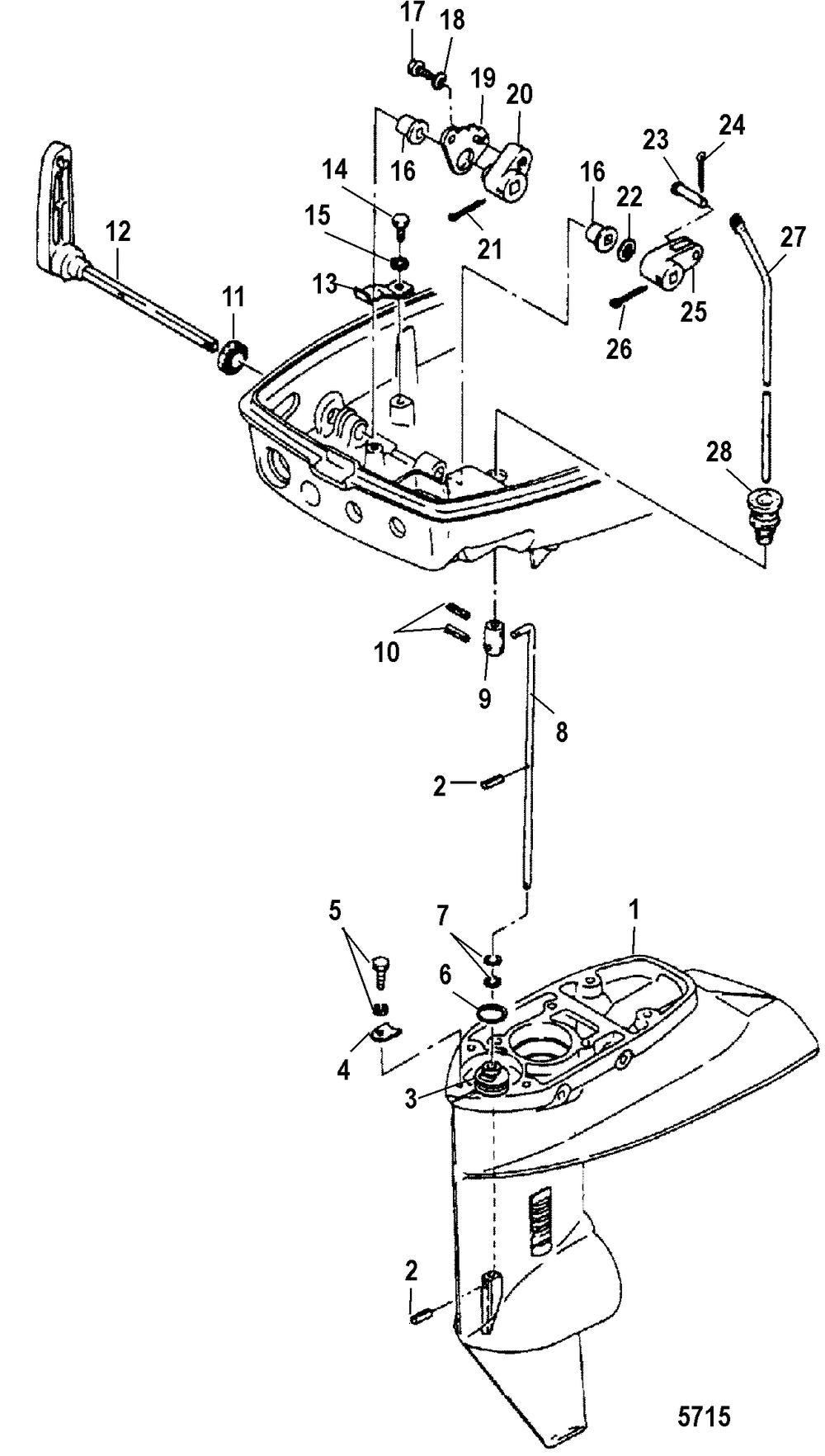
| 1 | CLUTCH CAM | 1 | |
| 2 | PIN | 2 | |
| 3 | BUSHING Component of Complete Gear Housing | 1 | |
| 4 | CLAMP | 1 | |
| 5 | SCREW Component of Complete Gear Housing | 1 | |
| 6 | O RING | 1 | |
| 7 | O RING | 2 | |
| 8 | CAM ROD-SH (Short) | 1 | |
| 8 | CAM ROD UL | 1 | |
| 9 | JOINT | 1 | |
| 10 | DOWEL PIN | 2 | |
| 11 | GROMMET | 1 | |
| 12 | SHIFT LEVER | 1 | |
| 13 | STOPPER | 1 | |
| 14 | BOLT | 1 | |
| 15 | LOCKWASHER @5 (5 per pack) | 1 | |
| 16 | BUSHING | 2 | |
| 18 | WASHER | 1 | |
| 19 | STOPPER PLATE | 1 | |
| 20 | ADJUSTER | 1 | |
| 21 | COTTER PIN | 1 | |
| 22 | WASHER-WAVE | 1 | |
| 23 | PIN | 1 | |
| 24 | COTTER PIN | 1 | |
| 27 | SHIFT ROD-SH (Short) | 1 | |
| 27 | SHIFT ROD-LG (Long) | 1 | |
| 28 | GROMMET Handle | 1 |
