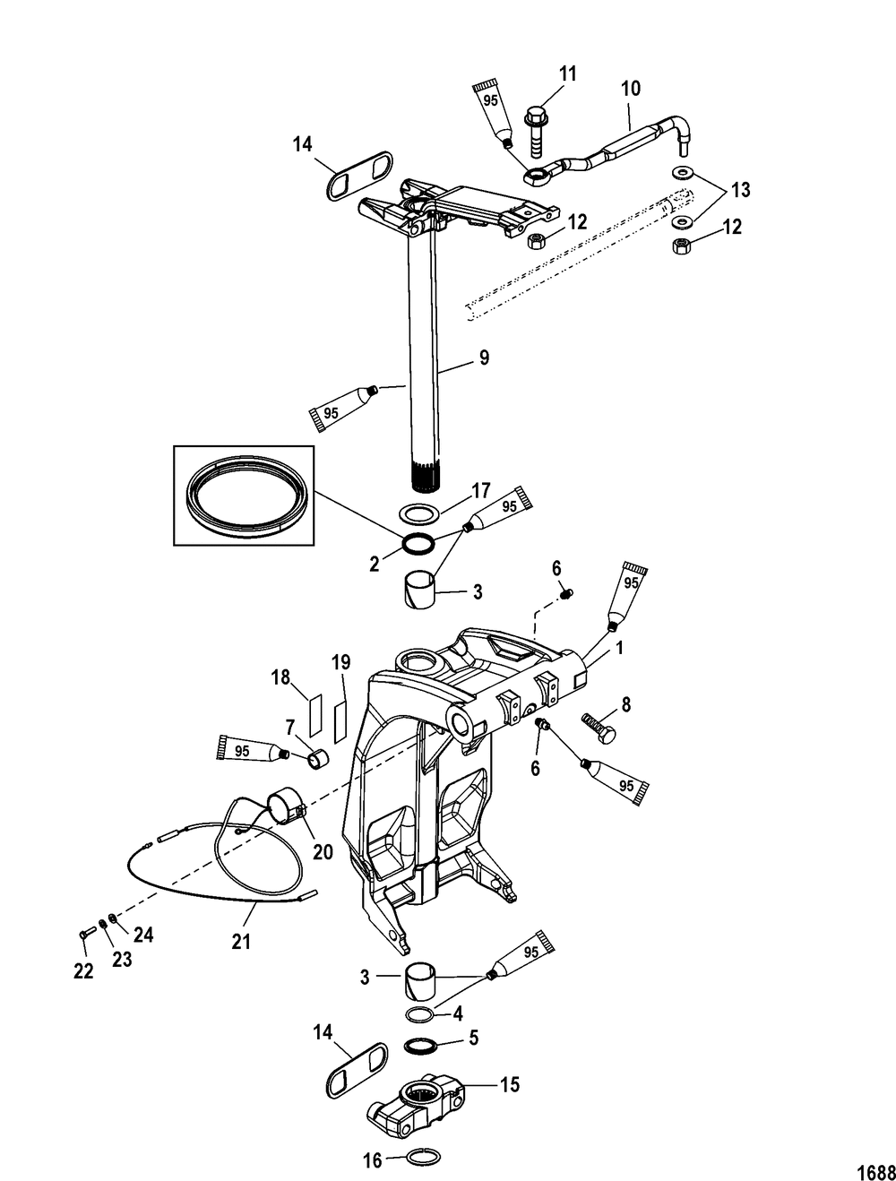
Swivel Bracket and Steering Arm

Корзина пуста