| № | Наименование | Примечание | Кол-во |
|---|---|---|---|
| - | PH 225EFI 3L (225) SNtahos_ 0T598999 & Below | 1 | |
| - | PH 225EFI 3L (225) SNtahos_ 0T599000 & Up | 1 | |
| - | PH 3L WORK EFI (3L Work) SNtahos_ 0T598999 & Below | 1 | |
| - | PH 3L WORK EFI (3L Work) SNtahos_ 0T599000 & Up | 1 | |
| - | PH 250EFI 3L (250) SNtahos_ 0T598999 & Below | 1 | |
| - | PH 250EFI 3L (250) SNtahos_ 0T599000 & Up | 1 | |
| - | PH 200EFI 3L (200) | 1 | |
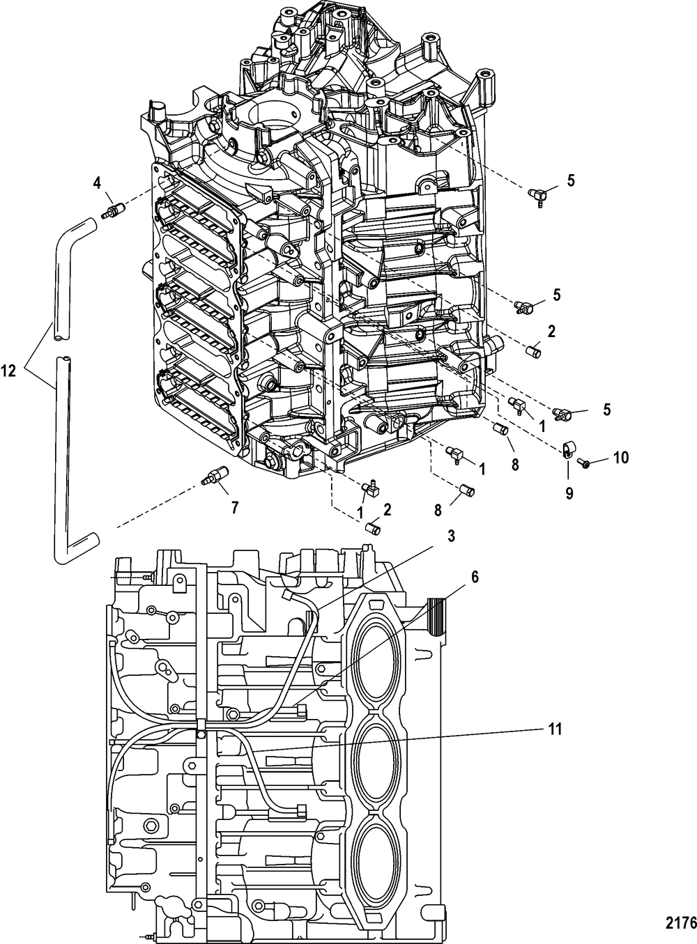
| 1 | CHECK VALVE | 3 | |
| 2 | PLUG | 2 | |
| 3 | TUBING-39 INCH | 1 | |
| 4 | VALVE-CHECK | 1 | |
| 5 | CHECK VALVE | 3 | |
| 7 | VALVE-CHECK | 1 | |
| 9 | CLIP | 1 | |
| 10 | SCREW @5 (5 per pack) | 1 | |
| 12 | TUBING-20 FEET SNtahos_ USA-0G301750/BEL-9885504 & Below | 1 |
