| № | Наименование | Примечание | Кол-во |
|---|---|---|---|
| - | PH 50 4S 4CYL | 1 | |
| - | POWERHEAD (BIGFOOT) | 1 | |
| - | GASKET SET | 1 | |
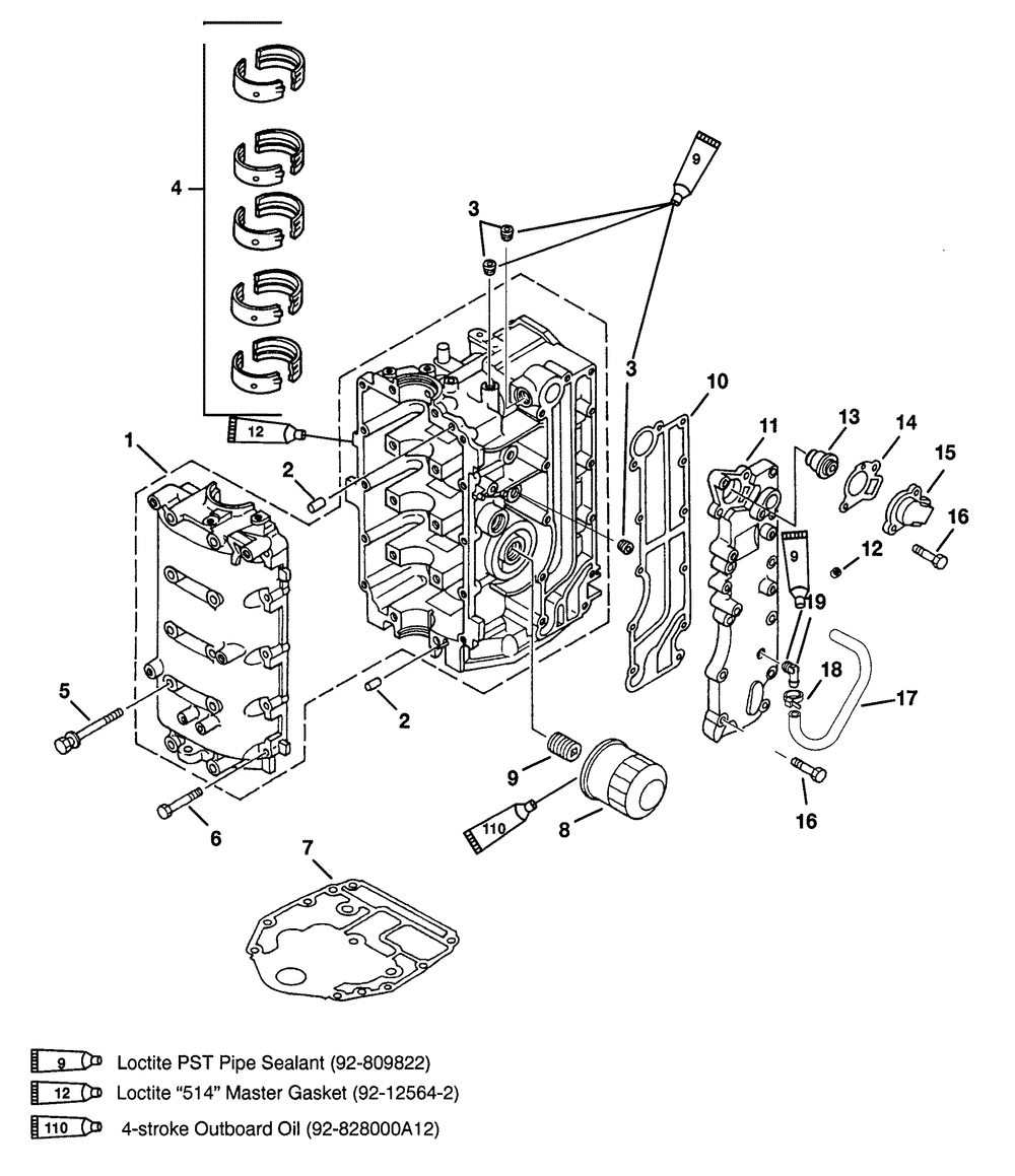
| 1 | CYLINDER BLOCK S/N-0G324238 & BELOW USE WITH REF. tahos_3 OIL SEAL 26-825028 ON CRANKSHAFT. | 1 | |
| 1 | CYLINDER BLOCK USE WITH REF. tahos_4 .OIL SEAL 26-832013 ON CRANKSHAFT (WITH RAISED RIB ON O.D.) S/N-0G324239 & UP | 1 | |
| 2 | PIN-DOWEL | 2 | |
| 3 | PLUG-PIPE | 3 | |
| 4 | BEARING | 10 | |
| 4 | BEARING | 10 | |
| 4 | BEARING | 10 | |
| 5 | SCREW | 10 | |
| 6 | SCREW | 10 | |
| 7 | GASKET | 1 | |
| 8 | FILTR OIL QS@6 (6 per pack) | 1 | |
| 9 | NIPPLE | 1 | |
| 10 | GASKET | 1 | |
| 11 | COVER KIT-EXHAUST (S/N-0G589999 & BELOW) | 1 | |
| 13 | ORD 855676A 1 | 1 | |
| 14 | GASKET | 1 | |
| 14 | GASKET | 1 | |
| 15 | COVER | 1 | |
| 17 | HOSE-70 INCH | 1 | |
| 18 | TIE STRAP @100 (100 per pack) | 1 | |
| 19 | ELBOW | 1 |
