| № | Наименование | Примечание | Кол-во |
|---|---|---|---|
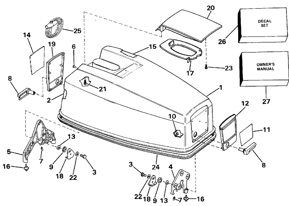
| 1 | 40TE 40TTL | 1 | |
| 1 | 40E 40TL | 1 | |
| 1 | MTR CVR 50HP 50BEC 50TLC | 1 | |
| 1 | MTR CVR 50HP 50TEC | 1 | |
| 2 | BLANKETSOUND | 1 | |
| 3 | SCREW | 2 | |
| 4 | Детать | 1 | |
| 5 | Детать | 1 | |
| 6 | RIVET | 6 | |
| 7 | FITTING LUBE | 2 | |
| 8 | Детать | 2 | |
| 9 | WASHER | 2 | |
| 10 | NUTPUSH ON | 11 | |
| 11 | Детать | 1 | |
| 11 | PLATE-APPL. FRONT | 1 | |
| 12 | Детать | 1 | |
| 13 | WASHER | 2 | |
| 14 | Детать | 1 | |
| 14 | PLATE-APPLIQUE 40E 40TE 40TL | 1 | |
| 15 | BLANKETSOUND | 1 | |
| 16 | Детать | 3 | |
| 17 | BAFFLE | 1 | |
| 18 | LATCH | 2 | |
| 19 | Детать | 1 | |
| 20 | TILT HANDLE-EV | 1 | |
| 21 | SCREW Baffle to center frame | 2 | |
| 22 | WASHER Negative battery stud to center frame | 2 | |
| 23 | SCREW Bracket to foam seal | 1 | |
| 24 | SEAL-MTR CVRBLACK | 1 | |
| 25 | ROPE & HNDL | 1 | |
| 26 | Детать | 1 | |
| 27 | 40R 40RL Models 4-Language Ownerft.s Manual | 1 | |
| 27 | 40ARL Models | 1 | |
| 27 | 50BEC 50TLC 40E 40TL4-Language Ownerft.s Manual | 1 | |
| 27 | 40TTL | 1 | |
| 27 | 40AEL 40ATL 40AEL 40ATL | 1 |
