| № | Наименование | Примечание | Кол-во |
|---|---|---|---|
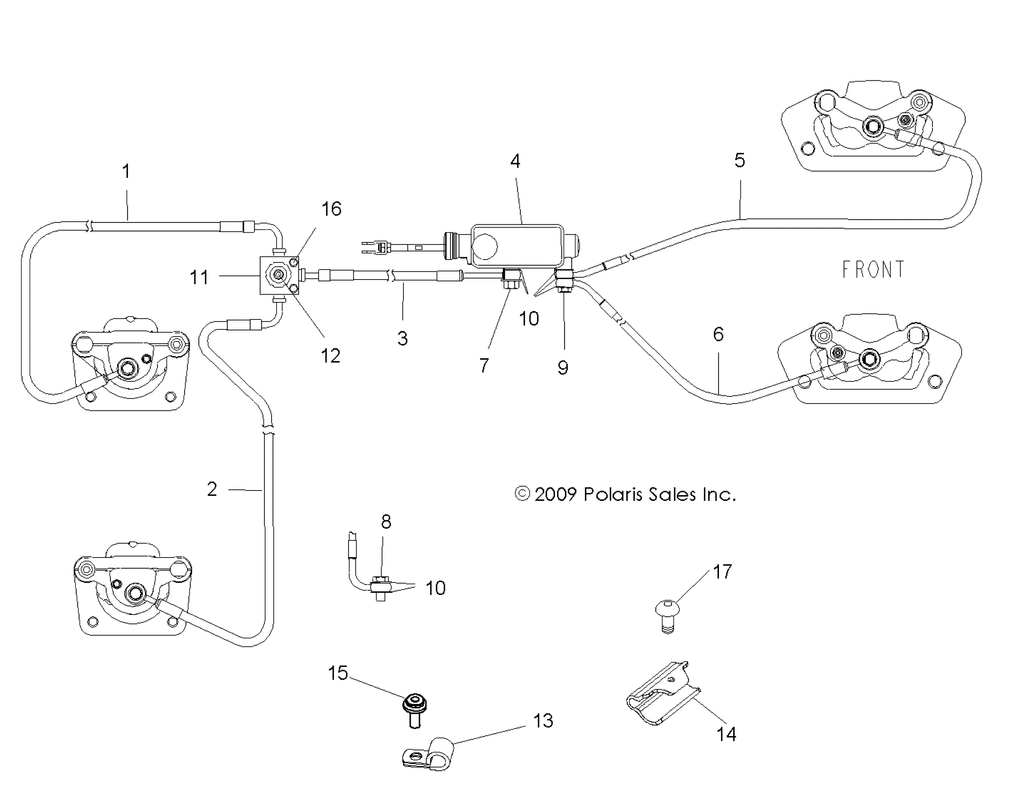
| 1 | LINE BRAKE RL | 1 | |
| 2 | LINE BRAKE RR | 1 | |
| 3 | LINE BRAKE MASTER TO REAR | 1 | |
| 4 | KIT-CAPM/C TANDEMHB 3/4" | 1 | |
| 4 | ASM. MASTER CYLINDER TANDEM | 1 | |
| 5 | LINE BRAKE FL | 1 | |
| 6 | LINE BRAKE FR | 1 | |
| 7 | BOLT-BANJO 10MM X 1.25-6G | 1 | |
| 8 | BOLT-BANJO10MMX1.00 | 4 | |
| 9 | BOLT-DOUBLE BANJOM10X1.25 | 1 | |
| 10 | SEAL-STAT-O-3/870EP(10) (10 per pack) | 13 | |
| 11 | Fitting Cross Brake | 1 | |
| 12 | SWITCH PRESSURE | 1 | |
| 13 | CLAMPHOSE | 2 | |
| 14 | RETAINER-BRAKE LINE1" | 2 | |
| 15 | POP RIVET(50) (50 per pack) | 2 | |
| 16 | SCR-10-24X1.25TFM PN TRX TRI-Y | 2 | |
| 17 | SCREW(10) (10 per pack) | 2 |
