| № | Наименование | Примечание | Кол-во |
|---|---|---|---|
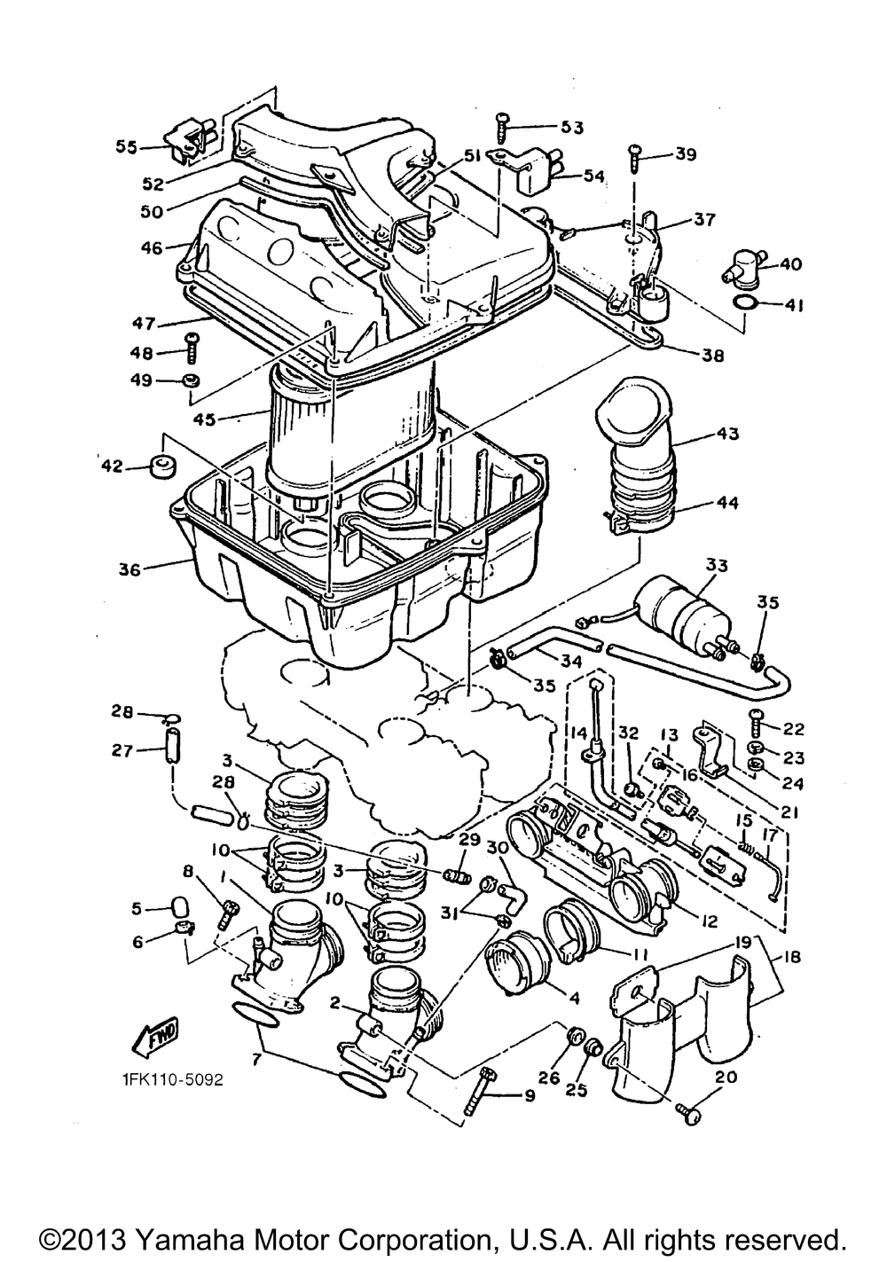
| 1 | JOINTCARBURETOR 1 | 2 | |
| 2 | JOINTCARBURETOR 2 | 2 | |
| 3 | JOINTCARB 3 | 4 | |
| 4 | JOINT | 4 | |
| 5 | PLUGBLIND | 3 | |
| 6 | CLIPSCISSOR | 3 | |
| 7 | O-RING | 4 | |
| 8 | BOLT (4FL) | 6 | |
| 9 | BOLT (4MY) | 2 | |
| 10 | CLAMP HOSE | 8 | |
| 11 | CLAMPHOSE | 4 | |
| 12 | VALVE ASSY | 1 | |
| 13 | WIRE PULLEY ASY | 1 | |
| 14 | WIRE PULLEY ASY | 1 | |
| 15 | SPRINGCOMPRESSION | 1 | |
| 16 | BOLTBUTTON | 1 | |
| 17 | CABLE PULLEY 2 | 1 | |
| 18 | COVERVALVE | 2 | |
| 19 | DAMPER | 1 | |
| 20 | SCREWBINDING | 4 | |
| 21 | CLAMP | 1 | |
| 22 | SCREWPAN HEAD(3SX | 1 | |
| 23 | WASHER(3SX) | 1 | |
| 24 | WASHER (1RW) | 1 | |
| 25 | GROMMET FOR CAL | 4 | |
| 26 | COLLAR | 4 | |
| 27 | HOSE (L150) | 1 | |
| 28 | CLIPSCISSOR | 2 | |
| 29 | NOZZLE | 1 | |
| 30 | HOSE (L90) | 1 | |
| 31 | CLIPSCISSOR | 2 | |
| 32 | SCREWWITH WASHER | 1 | |
| 33 | FUEL PUMP COMP. | 1 | |
| 34 | HOSE (L220) | 1 | |
| 35 | CLIPSCISSOR | 2 | |
| 36 | CASEAIR CLEANER | 1 | |
| 37 | COVER 1 | 1 | |
| 38 | SEAL | 1 | |
| 39 | SCREWPAN TAP.2 | 3 | |
| 40 | JOINT | 2 | |
| 41 | O-RING (5 per pack) | 2 | |
| 42 | O-RING | 1 | |
| 43 | JOINTAIR CLNR 1 | 4 | |
| 44 | CLAMP HOSE | 4 | |
| 45 | Фильтр воздушный | 1 | |
| 46 | CAPCLEANER CASE 1 | 1 | |
| 47 | SEAL | 1 | |
| 48 | SCREW PAN HEAD | 6 | |
| 50 | SEAL | 1 | |
| 52 | DUCT | 1 | |
| 54 | STAY 1 | 1 | |
| 55 | STAY 2 | 1 |
