| № | Наименование | Примечание | Кол-во |
|---|---|---|---|
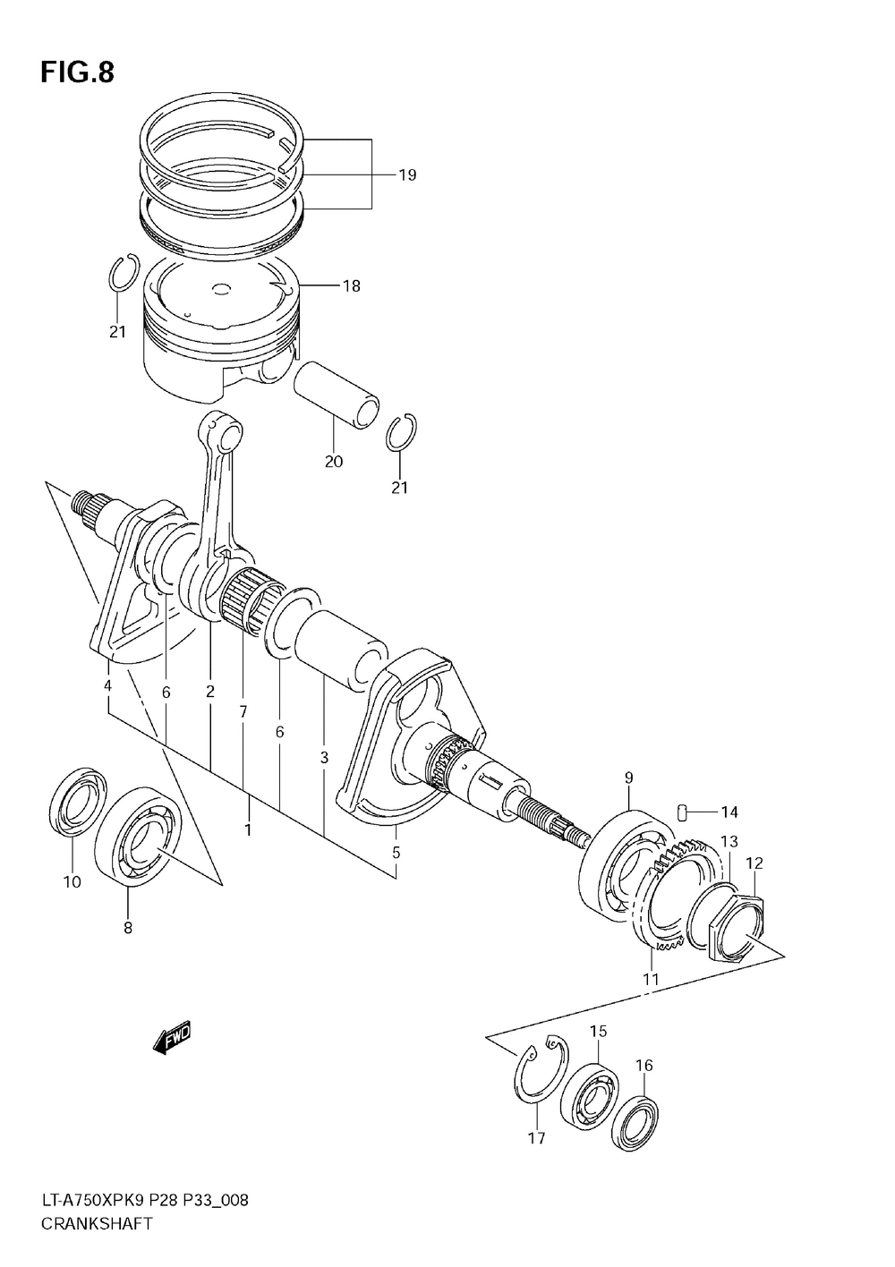
| 2 | CONNROD | 1 | |
| 3 | .PIN CRANK | 1 | |
| 4 | .CRANKSHAFT RH | 1 | |
| 5 | .CRANKSHAFT LH | 1 | |
| 6 | .WASHER (41X61X1) | 2 | |
| 7 | .BEARING (41X51X24.8) | 1 | |
| 8 | BRGCRNKSHF40X | 1 | |
| 9 | BEARING (45X85X19) | 1 | |
| 10 | OIL SEAL (34X52X6) | 1 | |
| 11 | GEAR CRANK BALANCER DRIVE (NT:43) | 1 | |
| 12 | NUT CRANK BALANCER DRIVE GEA | 1 | |
| 13 | WASHER (45X60X1.2) | 1 | |
| 14 | KNOCK PIN SROCK | 1 | |
| 15 | B1 25X47X8 BRG | 1 | |
| 16 | OIL SEAL (25X42X6) | 1 | |
| 17 | CIRCLIP | 1 | |
| 18 | PISTON (YELLOW) | 1 | |
| 19 | RING SET PISTON | 1 | |
| 20 | PINPISTON | 1 | |
| 21 | CIRCLIP | 2 |
