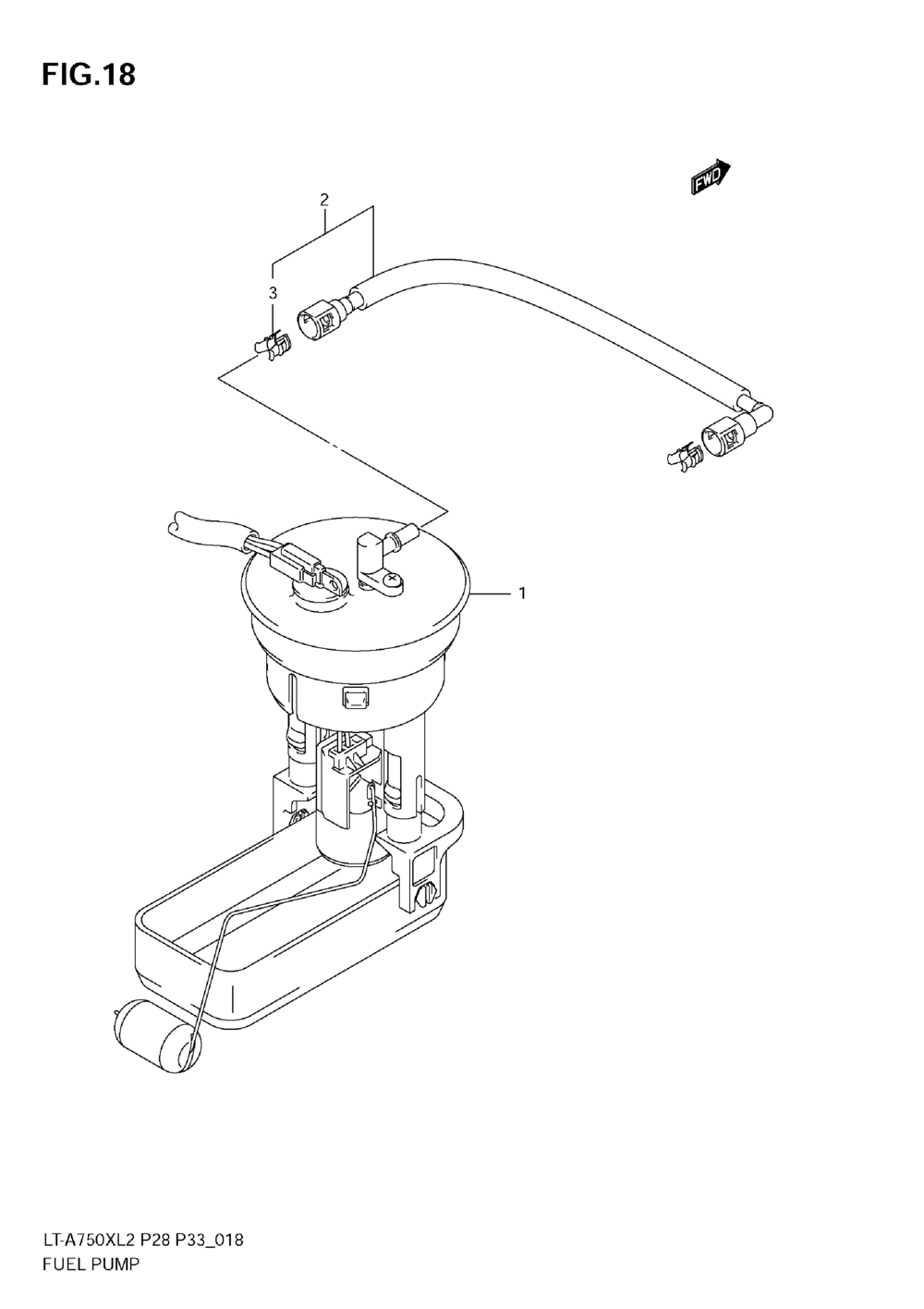
FUEL PUMP

Корзина пуста
Наименование Примечание Кол-во
1 PUMP ASSYFUEL 1
2 HOSE FUEL 1
3 RETAINER 2