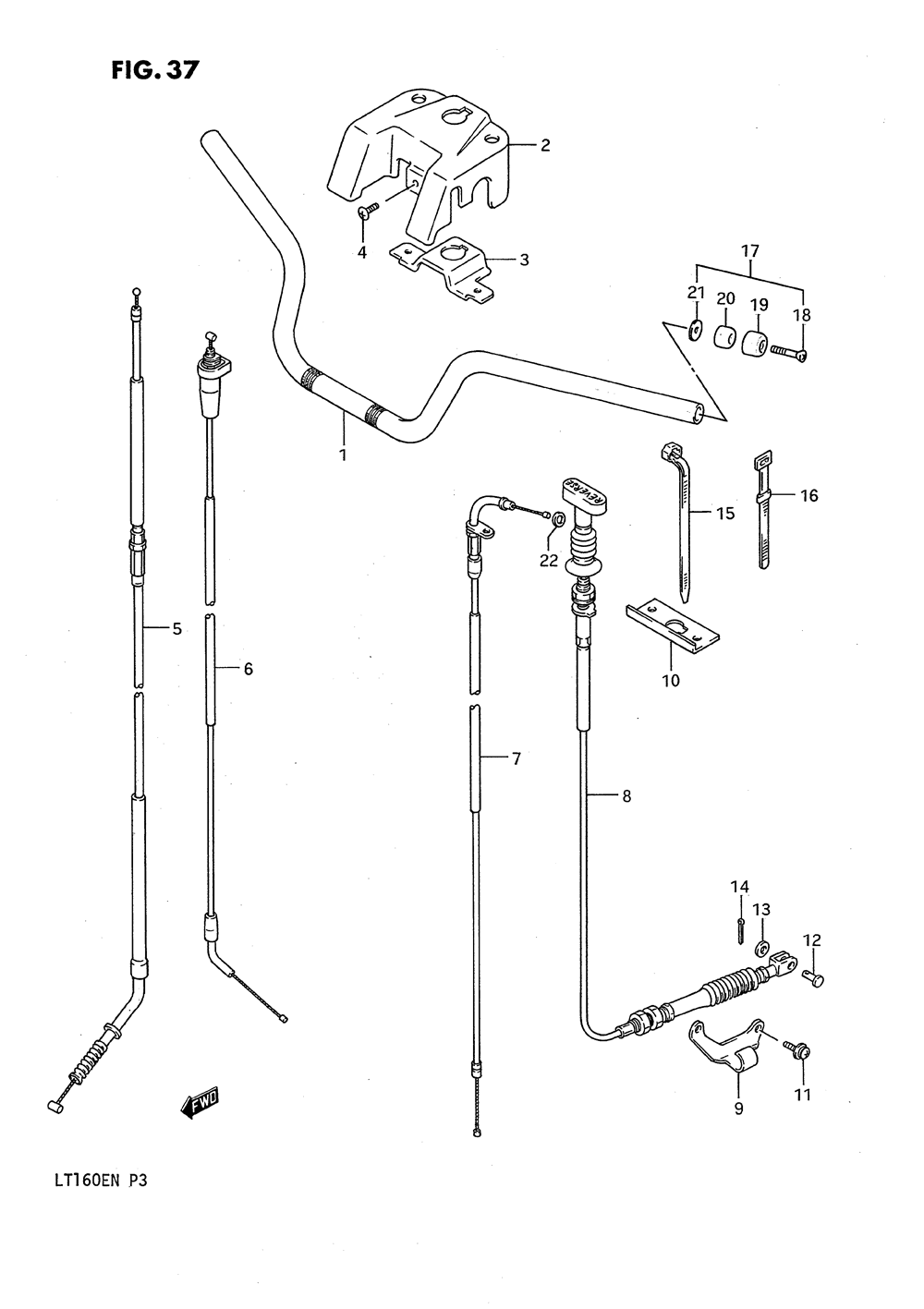
| № | Наименование | Примечание | Кол-во |
|---|---|---|---|
| 1 | HANDLEBAR | 1 | |
| 2 | COVERSTEERING | 1 | |
| 3 | BRACKETSTEERIN | 1 | |
| 4 | SCREW | 1 | |
| 5 | CABLEFR BRAKE | 2 | |
| 6 | CABLE ASSYTHRO | 1 | |
| 7 | CABLESTARTER | 1 | |
| 8 | CABLE REVERSE | 1 | |
| 9 | Деталь | 1 | |
| 10 | BRACKET REVERSE | 1 | |
| 11 | Деталь | 2 | |
| 12 | RR BRK CONNECTO | 1 | |
| 13 | Деталь | 1 | |
| 14 | PIN | 1 | |
| 15 | CLAMPWIRING HA | 1 | |
| 16 | MUD GUARD CLAMP | 2 | |
| 17 | BALANCER SETHA | 2 | |
| 18 | SCREW | 2 | |
| 19 | CAPHANDLE BALA | 2 | |
| 20 | BALANCER HANDL | 2 | |
| 21 | SPACERBALANCER | 2 | |
| 22 | CUSHION | 1 |
