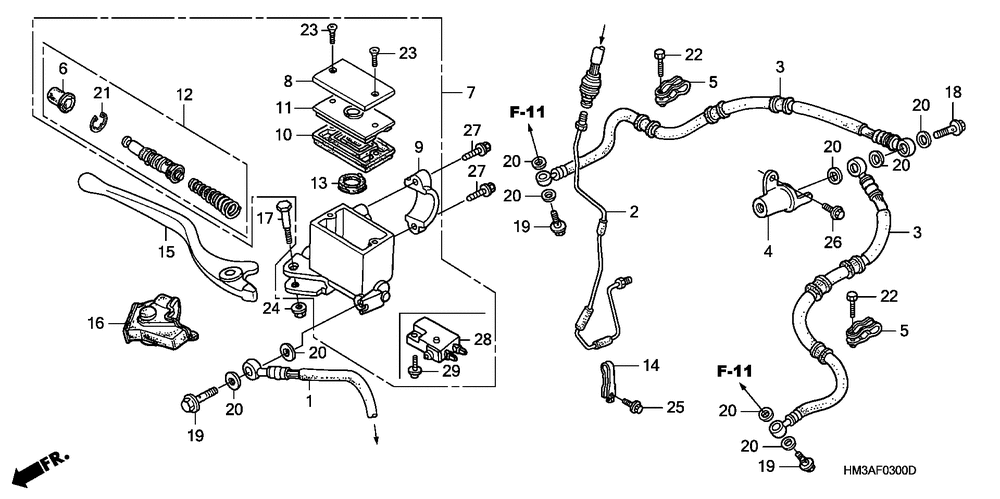
| № | Наименование | Примечание | Кол-во |
|---|---|---|---|
| 001 | HOSE FR. BRAKE | 1 | |
| 002 | PIPE FR. BRAKE | 1 | |
| 003 | HOSE FR. BRAKE | 2 | |
| 004 | JOINT | 1 | |
| 005 | CLAMP FR. | 2 | |
| 006 | BOOT | 1 | |
| 007 | M/CYL SUB-ASSY FR. | 0 | |
| 008 | CAP, MASTER CYLINDER (NOT AVAILABLE) | 1 | |
| 009 | HOLDER | 1 | |
| 010 | DIAPHRAGM | 1 | |
| 011 | PLATE, DIAPHRAGM | 1 | |
| 012 | MASTER CYLINDER SET | 1 | |
| 013 | SEPARATOR | 1 | |
| 014 | CLAMP B FR. | 1 | |
| 015 | LEVER R. HANDLEBAR | 1 | |
| 016 | CVR R. HANDLE LEVER | 1 | |
| 017 | BOLT, HANDLE LEVER PIVOT | 1 | |
| 018 | BOLT, OIL (10X34) | 1 | |
| 019 | BOLT, OIL (10X22) | 3 | |
| 020 | WASHER, OIL BOLT | 9 | |
| 021 | CIRCLIP | 1 | |
| 022 | BOLT, HEX. (5X16) | 2 | |
| 023 | SCREW, FLAT (4X12) | 2 | |
| 023 | SCREW FLAT (4X12) | 2 | |
| 024 | NUT, FLANGE (6MM) | 1 | |
| 025 | BOLT, FLANGE (6X10) | 1 | |
| 026 | BOLT, FLANGE (6X16) | 1 | |
| 027 | BOLT, FLANGE (6X22) | 2 |
